Thalmic has been issued US patents for its hologram lenses as company preps for launch
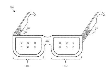
Kitchener-Waterloo-based wearables startup Thalmic has been issued multiple patents by the United States Patent and Trademark…
Kitchener-Waterloo-based wearables startup Thalmic has been issued multiple patents by the United States Patent and Trademark…
Rockeyview General Hospital in Calgary, Alberta is the first hospital in Canada to use virtual reality as part of its treatment…
Toronto-based Interaxon, the company behind the meditation headset Muse, has acquired Colorado-based Meditation Studio. The…
Two reports have dived deep into the gaming sector’s impact on the Canadian tech ecosystem. Indeed Canada has compiled…
Thalmic Labs has opened a new office at 27 Gaukel St. in Kitchener – a 124-year-old building with 26,000 square feet…
Halifax-based Axem Neurotechnology, which is building brain-sensing hardware to improve physical rehabilitation and sports…
After four years of running the We Are Wearables community, founder Tom Emrich has announced that We Are Wearables is merging…
According to a report from TechCrunch, Pebble founder Eric Migicovsky joined Y Combinator as partner as of last month. “I…
After a year of research and development, two-time founder Katherine Homuth has taken to Kickstarter to launch Sheerly Genius,…
Today, two companies announced major additions to their team. Here’s the latest update on who’s added to their…
As more app developers drop support for the Apple Watch, it’s increasingly looking like the Apple’s wearable is evolving…
After having spent almost 10 years at financial institutions as an investment specialist, Robert Bruski spotted a game-changing…
As part of a regular series powered by IBM, BetaKit interviews Canadian tech leaders using innovation for the greater good.…
Vancouver startup Mobile Reality has launched the world’s first mobile virtual reality arcade, a customized trailer that…
The founders, developers and designers of Waterloo Region tech have been busy and 2018 doesn’t show any sign of slowing down.…
